中证报中证网讯(王珞)工信部近日公示了2024年未来产业创新发展优秀典型案例,安靠智电“220千伏三相共箱GIL地下管廊”项目入选典型应用场景案例。

图片来源于网络,如有侵权,请联系删除
资料显示,2024年未来产业创新发展优秀典型案例,主要聚焦未来产业六大方向(未来制造、未来信息、未来材料、未来能源、未来空间、未来健康),征集推荐三类典型案例:标志性产品,代表未来产业发展方向,且已实现产业化,能切实体现前沿技术突破并具有良好应用场景的产品;领军企业,在未来产业细分赛道中处于领先行列,创新能力强、产品市场占有率高、引领带动作用显著的代表性企业;典型应用场景,有利于推动前沿技术、产品规模应用和迭代升级,在新型工业化和跨界融合方面具有特色,已经过一段时间验证并取得实效的标志性场景。

图片来源于网络,如有侵权,请联系删除
据了解,GIL作为一种先进的输电方式,具有传输容量大、损耗低、占地面积小等优点。基于GIL产品的突出性能和安全优势,目前已广泛应用于城市电网、工业端、发电侧等领域,成为安全强劲的输电“主动脉”,也是新型电力系统最为关键的电力输送技术创新。
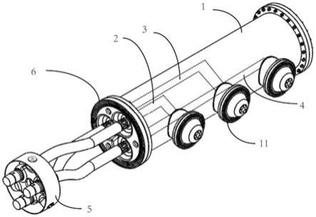
安靠智电早在2015年就已瞄准这一输电新技术,在国内率先研发出220千伏至1000千伏GIL,首创220千伏三相共箱GIL技术。此次安靠智电入选的“220千伏三相共箱GIL地下管廊”项目,在建设中就采用了国内具有自主知识产权的独创技术三相共箱GIL,该技术是将三根单相GIL整合为一个整体,进一步提高了输电效率和空间利用率。项目通过入地迁移改造、优化电网结构,有效提升供电可靠性。同时,还减少对城市景观的影响,实现电力设施与城市环境的和谐共生。
目前,安靠智电GIL产品成功应用于专供宁德时代江苏生产基地的地下输电线路、中化集团鲁西化工、内蒙古通威多晶硅二期、青海中铝等项目,涉及化工、钢铁、光伏多晶硅、有色金属等多个行业。公司多年来始终坚持独立创新推动输电技术升级突破。值得注意的是,2024年,由我国自主研发的750千伏特高压交联聚乙烯绝缘电力电缆及三大连接件组成的电缆系统,顺利通过了中国电力科学研究院电力工业电气设备质量检验测试中心权威电气型式试验。其中,特高压电缆连接件部分由安靠智电独立研发设计制造,这也是公司历时一年多,实现了一系列关键工艺和生产制造技术的重大突破。
转载请注明:财智纵横 » 企业新讯 » 安靠智电“220千伏三相共箱GIL地下管廊”入选未来产业创新发展优秀典型案例
版权声明
本文仅代表作者观点,不代表B5编程立场。
本文系作者授权发表,未经许可,不得转载。










